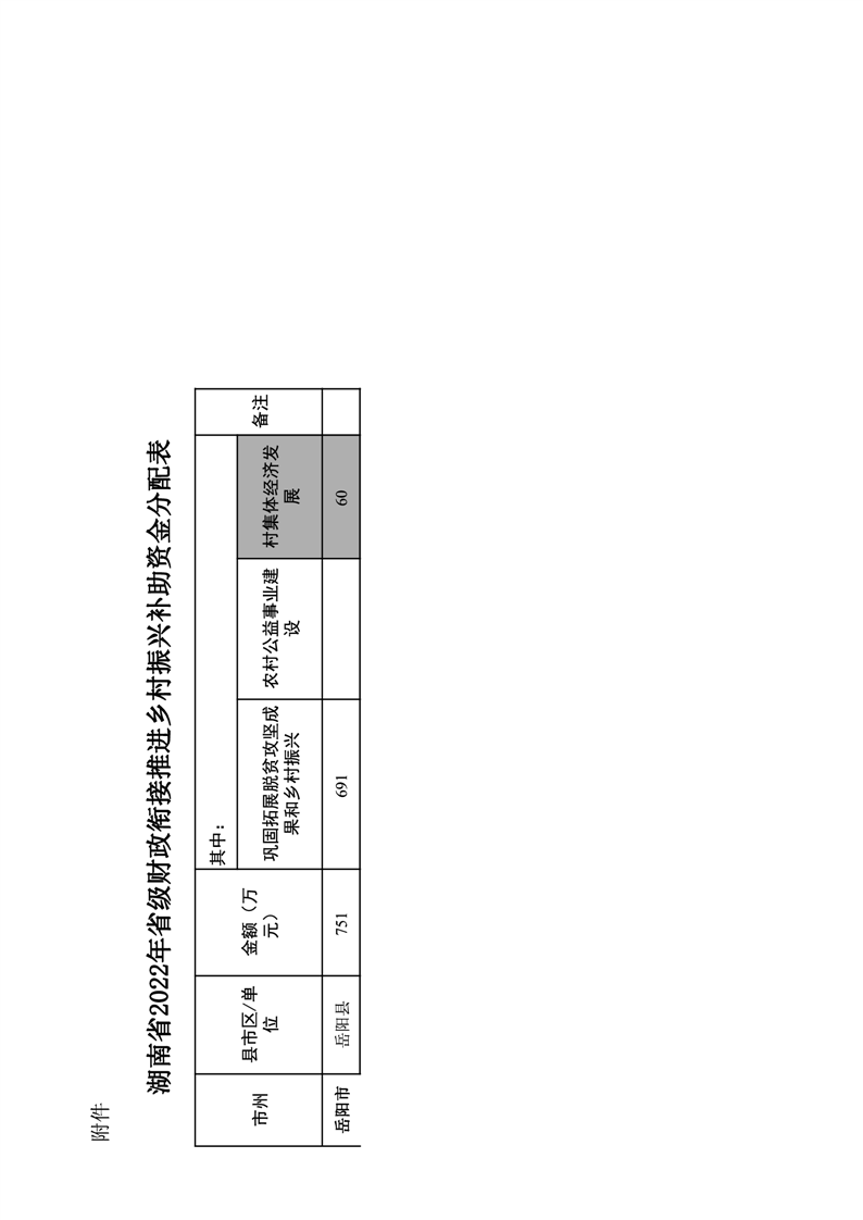
湖南省財政廳關於下達2022年省級財政銜接推進鄉村振興補助資金的通知(湘財預〔2022〕102號)
來源:縣財政局   2022-06-16
瀏覽量:1 | | | |